• Skip to navigation (Press Enter).
  • Skip to main content (Press Enter).

Technische
Zeichnungen

  • Ich zeichne für Sie!
  • Angebot
  • Naturwiss. Illustrationen
  • Buchillustrationen
  • Logos, Visitenkarten, Flyer
  • Karikaturen, Comics
  • Technische Zeichnungen
  • Privates und Halbprivates
  • Vita
  • Kontakt / Impressum
  • Gästebuch
  • Datenschutzerklärung
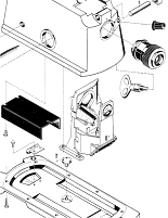
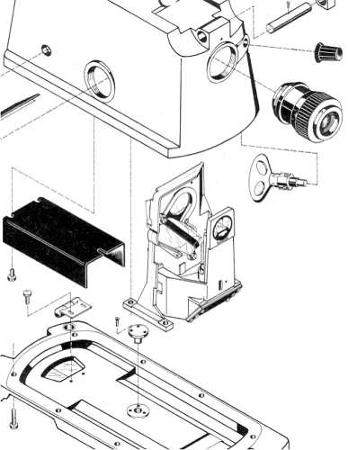
Explosionsdarstellung eines Gewindes
Isometrische Darstellung eines nautischen GerätsPerspektivische Darstellung eines AusstellungsstandesExplosionszeichnung eines nautischen GerätsPerspektivische Zeichnung von Schraubverbindungen